首页 > 企业

滴滴金融服务上线“全桔”系统

作者: 来源:QQ 2019-04-13 03:45:09

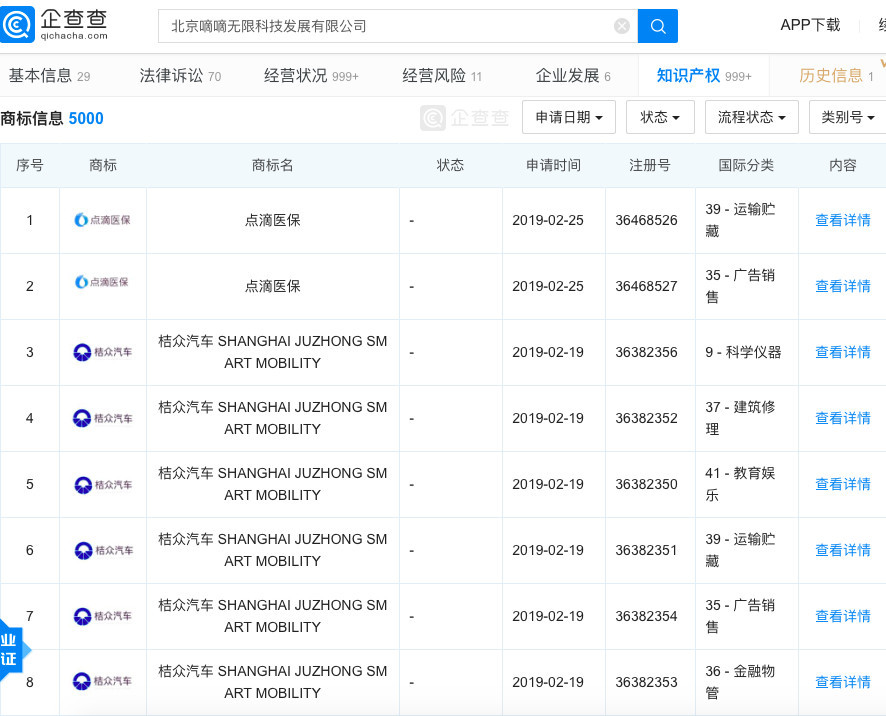
企查查数据显示:近日,滴滴金融服务上线“全桔”系统。“全桔”的运营主体是北京嘀嘀无限科技发展有限公司,其法定代表人程维。该公司相关商标信息5千条,包括“点滴医保”、“桔众”、“小桔优品”等商标。...

企查查数据显示:近日,滴滴金融服务上线“全桔”系统。“全桔”的运营主体是北京嘀嘀无限科技发展有限公司,其法定代表人程维。该公司相关商标信息5千条,包括“点滴医保”、“桔众”、“小桔优品”等商标。

上一篇 下一篇

I 热点 / Hot